Understanding ACPs: Avalanche’s Upgrade Process and the Impact of ACP-181 & 204
From smoother validator changes to mobile-friendly security, ACPs shape Avalanche’s evolution. Here’s how the process works—and what’s coming next.
Avalanche is introducing two key upgrades: ACP-181 brings predictable validator updates for better network coordination, while ACP-204 enables faster, cheaper device-based signature verification. Together, they boost scalability, efficiency, and user accessibility.
What Is an ACP on Avalanche?
ACP stands for Avalanche Community Proposal. It’s a decision-making process for the Avalanche community to suggest, discuss, and vote on important changes or ideas affecting the network or ecosystem. An ACP is a concise document introducing a change or best practice for adoption on the Avalanche Network. And ACP may have one of these four statuses:
Proposed: ACP is actively being discussed by the Avalanche Community and may be modified based on feedback.
Implementable: ACP is considered "ready for implementation" by the author.
Activated: activated on the Avalanche Network via a coordinated upgrade by the Avalanche Community.
Stale: ACP has been abandoned by its author because the Avalanche Community does not support it.
How to get involved in ACPs
Anyone can propose an ACP by following the specified format and submitting it to the Avalanche Builder Hub repository.
To get involved with Avalanche Community Proposals (ACPs), you can propose new ideas, contribute to existing discussions, sign up to join ACP meetings or help implement changes that are agreed upon by the community.
ACPs In Progress
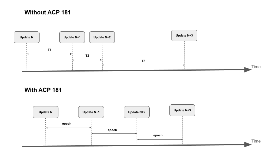
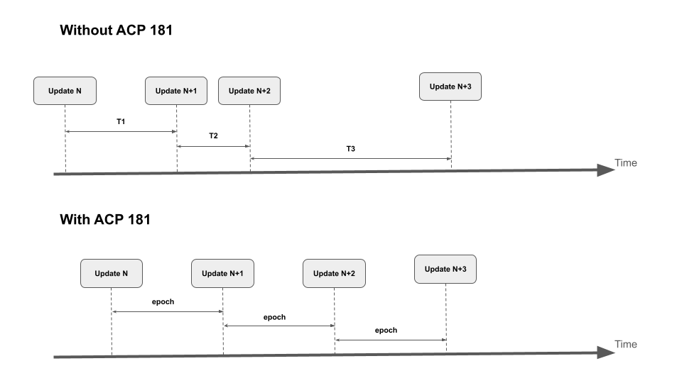
ACP-181: P-Chain Epoched Views
Avalanche is rolling out a key upgrade to how it manages its network validators. Until now, updates about validators joining or leaving the network have happened continuously and randomly, making coordination more difficult and the system harder to manage.
With the new proposal, ACP-181, these updates will occur in organized batches at regular intervals, similar to syncing everyone at set times, rather than all the time. This change makes the network more predictable, efficient, and easier to scale, especially as Avalanche grows and attracts more participants.
Why This Change Matters
Currently, validators fetch the latest P-Chain validator set during block execution, which can slow down block production. ACP-181 introduces the concept of epochs, fixed periods of time between validator set updates, where the P-Chain height remains stable.
This change brings a range of improvements to the Avalanche ecosystem, benefiting not just validators but anyone interacting with the network. Most notably, it introduces:
Predictability: validator changes now follow a clear, scheduled rhythm, making it easier to plan staking operations, track network updates, and maintain consistent monitoring.
Stability: During each epoch, the validator set remains fixed, ensuring all participants operate with the same network snapshot. This stability reduces edge cases and sync issues, fostering a more reliable experience for both users and developers.
Efficiency: Each epoch is anchored to a single P-Chain block, meaning explorers, wallets, and tools can retrieve the full validator set with a single query, rather than parsing multiple transactions.
Improved Subnet Coordination: Subnets also stand to gain significantly by aligning validator updates with epoch boundaries, subnet coordination becomes simpler and more consistent, even as the network scales
Reduced Churn & Streamlined Rewards: This structure minimizes mid-epoch validator churn, streamlines staking and reward distribution, and lays the foundation for more robust cross-subnet operations.
ACP-204: Precompile for secp256r1 Curve Support
ACP-204 is a proposal to make Avalanche more compatible with everyday devices like iPhones, Androids, and laptops, specifically, how they handle secure digital signatures.
Most phones and computers use a security system called secp256r1 to verify identities or approve actions. However, Avalanche currently uses a different system (secp256k1), which makes working with these devices slower and more expensive.
Suppose you want to use your phone’s built-in security features (such as Face ID or Passkeys) to interact with Avalanche. This requires significant computing power and incurs substantial gas costs.
ACP-204 fixes this by adding native support for that security system. That means:
It will be 100 times cheaper to verify signatures from devices
Easier logins and approvals using phones and hardware you already trust
Better support for modern security features like biometrics and Passkeys
Proposed ACPs
Before a proposal becomes activated, it first enters the proposed stage, a collaborative space where ideas are shared with the community for feedback, refinement, and technical review. It’s where concepts take shape through open discussion and iteration. Here are two proposed ACPs currently in progress:
ACP-208: When people interact with blockchains, there’s something called MEV (Maximal Extractable Value), extra profit that validators or bots can make by reordering transactions. ACP-208 proposes a system called the MEV Zone, which makes this process more open and fair. Instead of letting a few actors take all the profit, it creates a system to share some of that value with validators, users, and the Avalanche community, helping everyone benefit, not just insiders.
ACP-209: This allows users to batch multiple actions into one transaction or let someone else cover their gas fees. At the same time, it ensures the system stays compatible with Avalanche’s future upgrade called Streaming Asynchronous Execution (SAE).
Conclusion
ACP-181 and ACP-204 represent two major steps forward in Avalanche’s evolution: how the network operates and how users interact with it. These proposals highlight Avalanche’s commitment to performance, usability, and future-proof infrastructure. Whether you’re a validator, developer, or end user, these upgrades make the network more accessible, secure, and ready for the next wave of adoption.
Getting Involved
If you’re ready to go deeper into ACPs, here are a few ways you can get involved:
Review the current ACPs in more detail on Snowpeer and Github: ACP-181 | ACP-204 | ACP-208 | ACP-209
Join ACP meetings: Sign-up form
If you have an idea to improve the network, propose an ACP yourself: ACP Proposal Template
Dive into the Avalanche ecosystem today! Download the Core Wallet and unlock a world of seamless DeFi, NFTs, and more.







